Product Summary
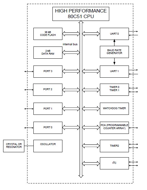
The P89C669FA/00 is an 8-bit microcontroller with extended memory 96 kB Flash. The P89C669FA/00 represents the first Flash microcontroller based on Philips Semiconductors’ new 51MX core. The P89C669FA/00 features 96 kbytes of Flash program memory and 2 kbytes of data SRAM. In addition, this P89C669FA/00 is equipped with a Programmable Counter Array (PCA), a watchdog timer that can be configured to different time ranges through SFR bits, as well as two enhanced UARTs and byte based I2C-bus serial interface.
Parametrics
P89C669FA/00 absolute maximum rating: (1)Tamb operating temperature under bias 0 +70 ℃; (2)Tstg storage temperature range -65 +150 ℃; (3)VI input voltage on EA/VPP pin to VSS 0 +13 V; (4)input voltage on any other pin to VSS -0.5 VDD + 0.5 V; (5)II, IO maximum IOL per I/O pin - 20 mA.
Features
P89C669FA/00 features: (1)Extended features of the 51MX Core; (2)100% binary compatibility with the classic 80C51 so that existing code is completely reusable; (3)Up to 24 MHz CPU clock with 6 clock cycles per machine cycle; (4)96 kbytes of on-chip program Flash; (5)2 kbytes of on-chip data RAM; (6)Programmable Counter Array (PCA); (7)Two full-duplex enhanced UARTs; (8)Byte based Fast I2C serial interface (400 kbits/s).
Diagrams

![]() |
![]() P89C51 |
![]() Other |
![]() |
![]() Data Sheet |
![]() Negotiable |
|
||||
![]() |
![]() P89C51RA2 |
![]() Other |
![]() |
![]() Data Sheet |
![]() Negotiable |
|
||||
![]() |
![]() P89C51RA2xx |
![]() Other |
![]() |
![]() Data Sheet |
![]() Negotiable |
|
||||
![]() |
![]() P89C51RB2 |
![]() Other |
![]() |
![]() Data Sheet |
![]() Negotiable |
|
||||
![]() |
![]() P89C51RB2BA/01,512 |
![]() |
![]() IC 80C51 MCU FLASH 16K 44-PLCC |
![]() Data Sheet |
![]() Negotiable |
|
||||
![]() |
![]() P89C51RB2HBA |
![]() Other |
![]() |
![]() Data Sheet |
![]() Negotiable |
|
||||
(China (Mainland))









